【新品1】圣邦微电子24位车规级ADC SGM52410SQ
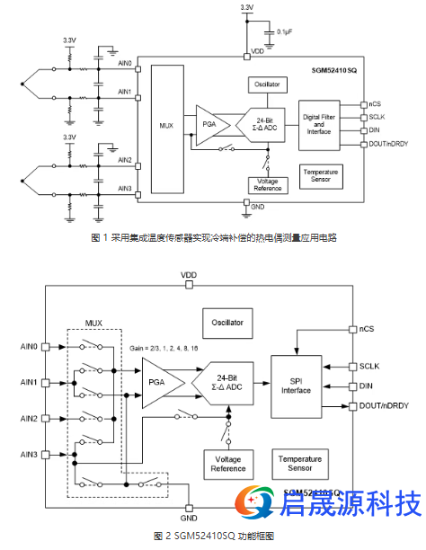
产品全称:带内部基准电压源和温度传感器的低功耗、SPI 兼容、24位车规级ADC SGM52410SQ
发布时间:2025年9月
亮点速览:
高精度、高效 24 位模数转换器(ADC),通过 AEC-Q100 汽车应用标准
温度等级为 1,工作温度范围为 -40℃ 至 +125℃
采用MSOP-10 绿色封装,具备可编程增益放大器(PGA)、基准电压源、振荡器和高精度温度传感器等基本功能
支持 2V 至 5.5V 的宽电源电压范围
转换速率高达每秒 960 次采样(SPS),并具有单周期建立时间
多路复用器(MUX)可测量两路差分输入或四路单端输入
可在连续转换模式(电流消耗仅为 207μA(典型值))或单次转换模式下工作
同步推出低配版本 SGM51610S(工规级),16位 ADC
适用领域:
汽车应用中的电池电流测量
BMS绝缘检测和人机界面
温度测量领域的带冷端补偿的热电偶和热敏电阻测量
便携式仪器仪表和过程控制和工厂自动化

【新品2】上海贝岭小容量Nor Flash系列产品
详细名称:BL25WQ40A/20A/10A/05A Nor Flash产品
发布时间:2025年10月
亮点速览:
支持创新的QPI模式,传输速率高达480Mbps,显著提升设备启动、固件升级和数据读取效率
独创5位保护位+CMP互补机制,支持最小1KB扇区的灵活保护,精准锁定关键数据(如密钥),有效提升空间利用率与安全性
内置128位ID及4x256字节OTP(一次性编程)寄存器,从芯片源头构建防克隆、防篡改的坚固防线
0.1μA深掉电电流与 3mmx2mm 超小封装,有效延长便携设备续航,为空间受限的微型设备(如TWS耳机、智能手表)提供理想选择
1.65V~3.6V宽电压工作范围,轻松适配多种电源方案
适用领域:
物联网节点:设备认证、参数存储、固件存储与执行(XIP)
工业控制:PLC、HMI、传感器模块的程序存储与关键数据保护
车载电子:仪表盘、辅助系统、信息娱乐模块的代码存储
可穿戴设备:智能手表、TWS耳机等空间和功耗敏感设备的固件与数据存储
消费电子:智能家居设备、打印机、网络模块等

【新品3】华润微电子新款IPM(智能功率模块)
详细名称:500V/4A 半桥IPM CRM50TE04FA/CRM50TF04FA
发布时间:2025年9月
亮点速览:
成本优势显著:与同封装的5A产品相比,成本降低约15%
性能完全达标:针对90W高速风筒的实测显示,其工作温度仅比5A规格高6℃,完全符合行业需求,确保设备稳定运行
封装灵活适配:提供SOP-11与ESOP-9两种封装形式
内置快恢复功率MOSFET,优化开关损耗
集成高压栅极驱动电路(HVIC),简化外围设计
自带欠压保护、VTS温度检测输出功能,保障运行安全
内置自举二极管与双高互锁功能,进一步提升模块可靠性
适用领域:
生活电器,如高速风筒、小功率风扇

【新品4】中微半导高性价比高速风筒公模方案
发布时间:2025年10月
方案简介:高速风筒市场持续增长,其核心在于通过10万转以上的直流无刷电机提供爆发性风量。针对这一需求,中微半导体推出基于电机控制MCUCMS32M6310及驱动芯片CMS6D220开发的11万转高性价比高速风筒整体解决方案,该方案以高性能、高可靠、低成本为核心优势,精准匹配公模市场对“高转速、小体积、低成本、快上市”的核心需求。
亮点速览:
高效开发
提供从芯片、FOC算法到PCB图纸的全套软硬件资料“交钥匙”方案,研发周期缩短50%以上。
成本竞争力
提供芯片级高性价比解决方案,同时通过母线电容容值降低50%
平稳顺滑
采用自收敛直接闭环启动算法,确保在不同负载下均实现100%启动成功;相电流平滑补偿技术,从根本上杜绝“抖手”现象
安全无忧
全面保护机制,内置过欠压、过流、短路、缺相、堵转等多重保护电路

【新品5】极海APM32F035无电解电容变频控制参考方案
发布时间:2025年9月
方案简介:为满足冰箱压缩机对低谐波电流、高功率因素及低成本控制的综合需求,极海推出无电解电容变频控制参考方案。该方案采用1颗APM32F035电机控制专用MCU和3颗GHD1620T电机专用栅极驱动器,结合薄膜电容与IGBT电路,实现无需外接PFC电路即可有效抑制谐波电流,优化板级功率因数。
亮点速览:
单芯片控制:采用APM32F035电机控制专用MCU,主频72MHz,内置M0CP协处理器,集成高速ADC和运放等外设资源。凭借卓越运算速度使得输入交流电压的观测与电机FOC(磁场定向控制)运算可以在单核上统一实现
可靠驱动能力:无电解电容电机驱动的转速精度及带载能力与传统有电解电容驱动方案一致,可确保系统在不同工况下的稳定性与可靠性
先进算法控制:特有输入电压跟随算法,支持动态负载调整,可降低电流谐波、节省PFC电路
高性价比设计:薄膜电容可降低15%~20%系统成本、缩小30%系统体积,延长产品使用寿命
高驱动功率:4μF薄膜电容,可实现400W的逆变功率

Copyright © 2017-2025 深圳市启晟源科技有限公司 版权所有 备案号:粤ICP备2025475765号-1